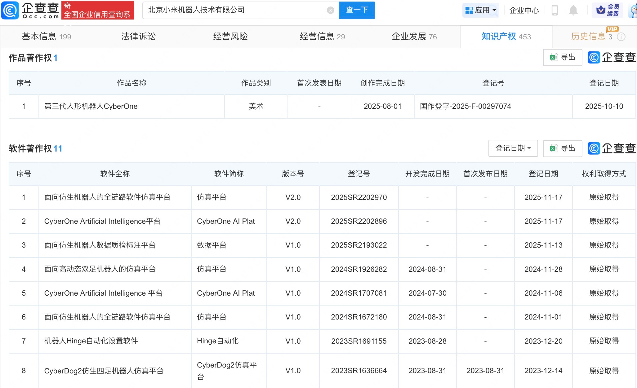
近日,小米公布了人形机器人在汽车工厂自主作业的视频,其已经能够连续工作3个小时。企查查APP显示,2025年10月,北京小米机器人技术有限公司登记“第三代人形机器人CyberOne”作品著作权,作品类别为美术。此外,该公司还拥有“面向仿生机器人的全链路软件仿真平台”“面向仿生机器人数据质检标注平台”“CyberDog2仿生四足机器人仿真平台”软件著作权。

湖北省版权保护中心是省版权局指定的省内唯一作品登记机构,负责全省的作品登记工作。此外,中心的业务范围和职能还包括版权鉴定、纠纷调解、侵权调查、法律维权等。
湖北省版权保护中心将以创新、务实、专业的精神,竭诚为广大著作权人和社会各界提供权威、优质、高效的服务。
